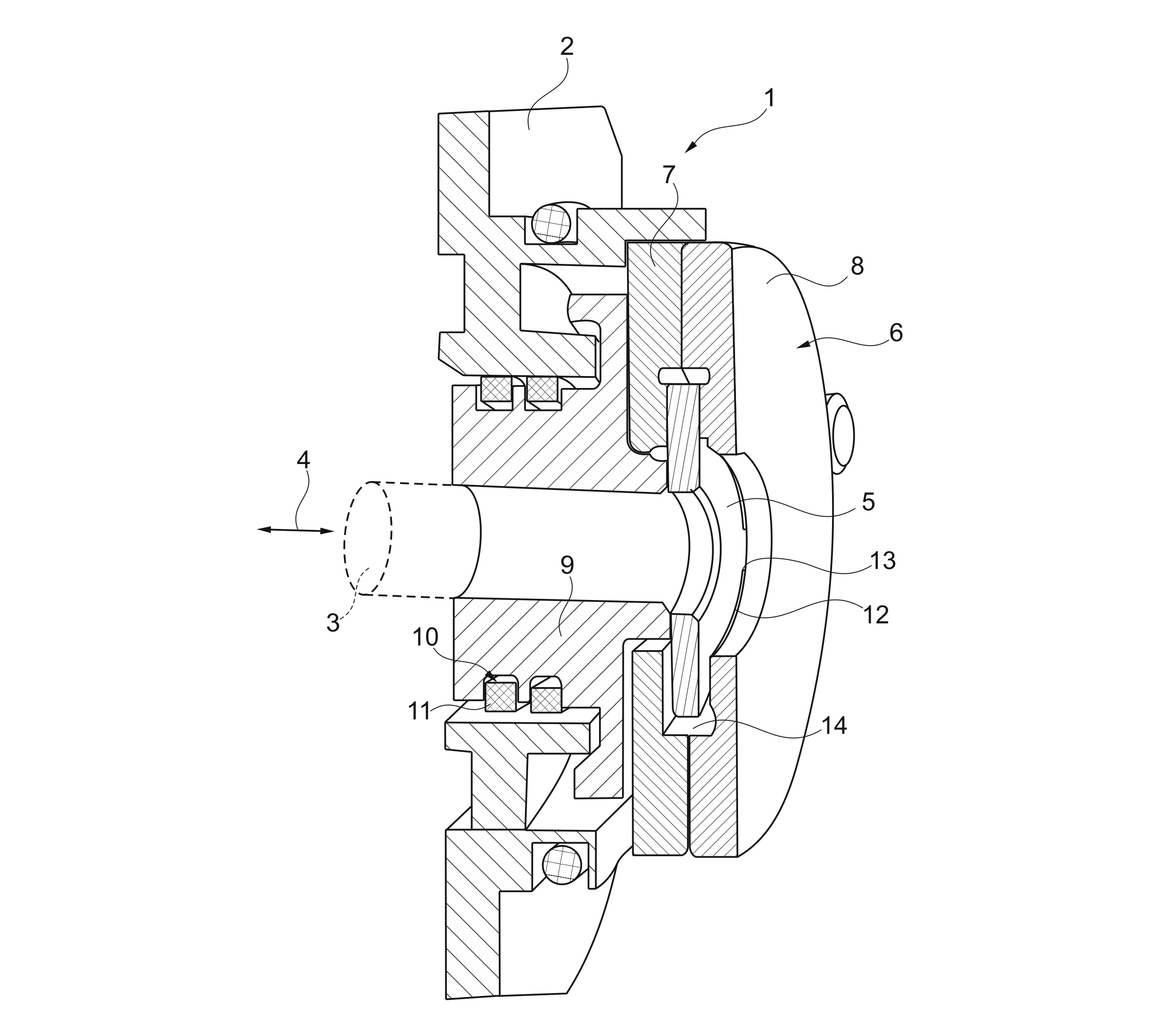
Patent Drawings
Patentzeichnung heißt GROSSI®
Schluss mit Beanstandungen! Wir wissen, warum die Patentämter Ihre Zeichnungen beanstanden. Denn:
GROSSI® ENGINEERING hat sich auf die Erstellung von hochwertigen Patentzeichnungen spezialisiert.
Für unseren Kunden arbeiten ausschließlich erfahrene Ingenieure in einem flexiblen und insbesondere kompetenten Team. Das hervorragende Arbeitsklima garantiert Ihnen höchste Präzision bei Ihren Arbeiten zu einem unschlagbaren (Fest)Preis. Und dies das ganze Jahr über, denn wir haben keinen Firmenurlaub.
Unsere Preise liegen weit unter denen der Konkurrenz, das wurde uns schon oft bestätigt. Doch wir gehen noch einen Schritt weiter: Wir bieten einen Festpreis pro Blatt an. Unabhängig von der Komplexität der Zeichnungen.
Wir waren die erste Zeichnungsfirma weltweit, die dies 2004 eingeführt hat!
Stehen bei Ihnen öfters Zeichnungen an, die wir für Sie anfertigen dürfen? - Dann erhalten Sie sogar noch einen Mengenrabatt, ohne dass Sie das extra ansprechen müssen. Wir versprechen Ihnen, dabei niemals unseren Grundsatz der Qualität aus den Augen zu verlieren.
Wir erstellen die Zeichnungen in den von Ihnen bestimmten Formaten. Fast alles ist möglich. Auch Zeichnungen nach Fotovorlagen fertigen wir Ihnen gerne an, z. B. für Geschmacksmuster.
Die fertigen Zeichnungen erhalten Sie von uns per E-Mail, auf Wunsch verschlüsselt.
Wir senden Ihnen gerne eine kostenlose Arbeitsprobe zu. Nutzen Sie hierzu bitte den Link aus dem Bereich E-Mail-Sofortkontakt.
Bei weiteren Fragen oder Wünschen, die wir Ihnen bisher nicht beantwortet haben bitten wir einfach um Rückmeldung.
"Patent drawing" means GROSSI®
No more rejections! We know why the patent offices reject your drawings.
GROSSI® ENGINEERING has specialized in preparing specialized high-quality patent drawings. For our customers only experienced engineers work in a flexible and competent team. The excellent team atmosphere ensures you the highest precision in our work at an unbeatable (fixed) price. And this applies the whole year, because we do not have a company holiday.
Our prices are far below those of competitors, which has often been confirmed to us. But we go one step further: we offer a fixed price per sheet. Regardless of the complexity of the drawings.
We were the world's first drawing firm who has introduced this in 2004!
Have you frequently drawings which we may prepare for you? - Then you can get a quantity discount.
We create the drawings in the formats you specify. Almost everything is possible. Also we will be happy to prepare drawings based on photos, for example.
The drawings will be sent to you by e-mail, if desired encrypted.
We can send you a free work sample. For this, please use the link from the e-mail contact form.
For further questions or requests, please simply e-mail us.









Phone
+49-89-64 25 64 34Address
GROSSI ENGINEERINGMurnauer Str. 221
D-81379 München
Germany